皇冠信用网开户_小米SUV隐藏式门把手遭吐槽!雷军评论区沦陷
时间:2024-12-10 阅读:13457 评论:152
皇冠体育开户(www.hgty.us—)开会员号,招代理/条件好/平台出租/招登1登2登3地区代理今年3月,小米SU7上市发布皇冠信用网开户。发布会上,小米董事长雷军对小米SU7的半隐藏式门把手进行了大篇幅的介绍,车型上市后这一设计也获得了大量车主的认可。
然而,12月9日晚间,小米首款SUV——小米YU7登陆工信部,证件照显示该车似乎放弃了半隐藏式门把手,改用了真正的全隐藏式门把手皇冠信用网开户。


目前,有大量网友对于小米弃用半隐藏式门把手感到不满,雷军本人的评论区里更是有不少人希望小米可以给出解释,甚至直接重新改回半隐藏式门把手,相关评论最高获得了接近4000点赞皇冠信用网开户。

展开全文
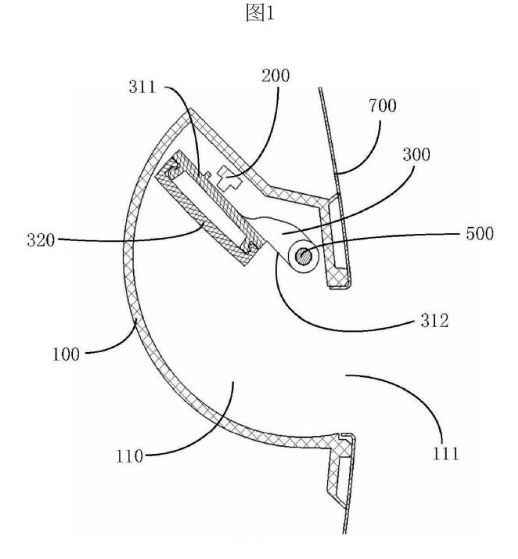
然而,虽然工信部照片显示小米YU7的门把手设计与小米SU7不同,但根据此前的一份申请专利,小米YU7的门把手或许并非大家认为的弹出式,其表面可能只是一个盖子,打开后用户可以伸手进去拉开车门,是小米SU7半隐藏式门把手的升级版皇冠信用网开户。

不过截止发稿前,小米官方暂未公布YU7的门把手设计细节,以上只是根据专利推测皇冠信用网开户。

工信部信息显示,小米YU7的长宽高分别为4999mm/1996mm/1600mm,轴距3000mm,搭载了前后双电机,电动机型号分别为YS210XY103/TZ220XY109,最高功率508千瓦,整车质量为2405kg皇冠信用网开户。
本文转载自手机中国皇冠信用网开户。
猜你喜欢
- 2025-11-21皇冠信用盘如何注册 _包揽五人制男篮三金 广东成全运篮球项目最大赢家
- 2025-11-20皇冠信用盘登1 _“日本八路”之子小林阳吉:高市缺乏执政能力酿成外交惨祸
- 2025-11-20皇冠信用网在线注册 _泽连斯基发文!“乌克兰正紧急应对俄方的大规模袭击”
- 2025-11-20正版皇冠信用网 _日媒测算:中国游客大规模流失将导致日本损失2.2万亿日元,相当于人均承担1.8万日元
- 2025-11-20皇冠信用盘正网 _如何破解“女厕排队之困”?
- 2025-11-19皇冠信用盘出租 _NBA生涯新高!杨瀚森9分5板3助 他值得更多出场时间!
- 2025-11-19皇冠信用網申请开通 _中方不再好言相劝,反击一步步到位,美媒:高市早苗拿不出什么好办法来“阻止中国反击”
- 2025-11-19皇冠信用出租 _U22国足流畅配合!杨希禁区内倒地,但裁判表示没有点球
- 2025-11-19皇冠信用出租 _不接受日方无理交涉!中方当场驳回,并提出反交涉
- 2025-11-18皇冠信用开户申请 _13:0!特朗普感谢中俄弃权,而没有使用一票否决权,美方提案获安理会通过
- 2025-11-18皇冠信用网代理 _郑州多个小区出现新型骗局,有人被骗万元!警方提醒:立即扔掉!
- 2025-11-18皇冠信用网平台 _太嚣张了!贝森特称11月底前与中方签稀土协议,威胁再变卦要报复



网友评论